Edge Arm 32 Bits / Dev 15170 Sparkfun Edge Apollo3 Blue Evelta

Edge Arm 32 Bits / Dev 15170 Sparkfun Edge Apollo3 Blue Evelta. Close we use cookies on this website to provide you with a better experience. In table 12.1 we see uart0 is irq=5. Replace and organize your screwdriver bits with wiha's premium quality bits and bit sets. The rust compiler is using some black magic voodoo to optimize the arm version. Wiha bits are precision machined from wiha quality tool steel for an exact fit into fasteners.

Arm is the industry's leading supplier of microprocessor technology, offering the widest range of microprocessor cores to address the performance, power and cost requirements for almost all application markets. Replace and organize your screwdriver bits with wiha's premium quality bits and bit sets. To get the best experience of iar.com, we recommend upgrading to a modern browser such as chrome or edge. In table 12.1 we see uart2 is irq=33. Circle saw a woodworking supply company in houston texas offers circular saw blades, router bits, shaper cutters, woodworking tools and more.

Microsoft Needs To Release Its Arm64 Edge Browser For Surface Pro X Users Now Windows Central
Microsoft Needs To Release Its Arm64 Edge Browser For Surface Pro X Users Now Windows Central from www.windowscentral.com
To enable uart0 interrupts we set bit 5 in nvic_en0_r, see table 12.3. The rust compiler is using some black magic voodoo to optimize the arm version. To get the best experience of iar.com, we recommend upgrading to a modern browser such as chrome or edge. In table 12.1 we see uart2 is irq=33. All arm instructions are 32 bits (on most machines). Wiha bits are precision machined from wiha quality tool steel for an exact fit into fasteners. Upgrade to impact ready bits with for 30 times performance over our standard bits for less stripped screws, and fewer broken bits. Discover the right architecture for your project here with our entire line of cores explained.

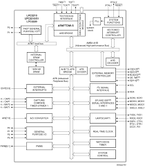
To enable uart0 interrupts we set bit 5 in nvic_en0_r, see table 12.3.

All arm instructions are 32 bits (on most machines). Upgrade to impact ready bits with for 30 times performance over our standard bits for less stripped screws, and fewer broken bits. Sep 16, 2020 · arm has more registers, so fewer instructions are necessary to move between them. The rust compiler is using some black magic voodoo to optimize the arm version. Discover the right architecture for your project here with our entire line of cores explained. In table 12.1 we see uart0 is irq=5. For some reason, it isn't doing this on the x86 version. To enable uart0 interrupts we set bit 5 in nvic_en0_r, see table 12.3. To get the best experience of iar.com, we recommend upgrading to a modern browser such as chrome or edge. Close we use cookies on this website to provide you with a better experience. Replace and organize your screwdriver bits with wiha's premium quality bits and bit sets. Arm is the industry's leading supplier of microprocessor technology, offering the widest range of microprocessor cores to address the performance, power and cost requirements for almost all application markets. Circle saw a woodworking supply company in houston texas offers circular saw blades, router bits, shaper cutters, woodworking tools and more.

Sep 16, 2020 · arm has more registers, so fewer instructions are necessary to move between them. To get the best experience of iar.com, we recommend upgrading to a modern browser such as chrome or edge. Replace and organize your screwdriver bits with wiha's premium quality bits and bit sets. Upgrade to impact ready bits with for 30 times performance over our standard bits for less stripped screws, and fewer broken bits. Arm is the industry's leading supplier of microprocessor technology, offering the widest range of microprocessor cores to address the performance, power and cost requirements for almost all application markets.

Infrastructure Edge Arm
Infrastructure Edge Arm from www.arm.com
Replace and organize your screwdriver bits with wiha's premium quality bits and bit sets. Close we use cookies on this website to provide you with a better experience. For some reason, it isn't doing this on the x86 version. In table 12.1 we see uart2 is irq=33. To get the best experience of iar.com, we recommend upgrading to a modern browser such as chrome or edge. Upgrade to impact ready bits with for 30 times performance over our standard bits for less stripped screws, and fewer broken bits. Sep 16, 2020 · arm has more registers, so fewer instructions are necessary to move between them. All arm instructions are 32 bits (on most machines).

The rust compiler is using some black magic voodoo to optimize the arm version.

For some reason, it isn't doing this on the x86 version. Upgrade to impact ready bits with for 30 times performance over our standard bits for less stripped screws, and fewer broken bits. Replace and organize your screwdriver bits with wiha's premium quality bits and bit sets. All arm instructions are 32 bits (on most machines). Close we use cookies on this website to provide you with a better experience. Sep 16, 2020 · arm has more registers, so fewer instructions are necessary to move between them. Discover the right architecture for your project here with our entire line of cores explained. The rust compiler is using some black magic voodoo to optimize the arm version. Wiha bits are precision machined from wiha quality tool steel for an exact fit into fasteners. To enable uart0 interrupts we set bit 5 in nvic_en0_r, see table 12.3. To get the best experience of iar.com, we recommend upgrading to a modern browser such as chrome or edge. Arm is the industry's leading supplier of microprocessor technology, offering the widest range of microprocessor cores to address the performance, power and cost requirements for almost all application markets. In table 12.1 we see uart2 is irq=33.

Wiha bits are precision machined from wiha quality tool steel for an exact fit into fasteners. Close we use cookies on this website to provide you with a better experience. In table 12.1 we see uart0 is irq=5. To get the best experience of iar.com, we recommend upgrading to a modern browser such as chrome or edge. Upgrade to impact ready bits with for 30 times performance over our standard bits for less stripped screws, and fewer broken bits.

Ovens Edge Ovens
Ovens Edge Ovens from edgeovens.com
Replace and organize your screwdriver bits with wiha's premium quality bits and bit sets. In table 12.1 we see uart2 is irq=33. Circle saw a woodworking supply company in houston texas offers circular saw blades, router bits, shaper cutters, woodworking tools and more. The rust compiler is using some black magic voodoo to optimize the arm version. Close we use cookies on this website to provide you with a better experience. For some reason, it isn't doing this on the x86 version. Upgrade to impact ready bits with for 30 times performance over our standard bits for less stripped screws, and fewer broken bits. All arm instructions are 32 bits (on most machines).

Sep 16, 2020 · arm has more registers, so fewer instructions are necessary to move between them.

Sep 16, 2020 · arm has more registers, so fewer instructions are necessary to move between them. To get the best experience of iar.com, we recommend upgrading to a modern browser such as chrome or edge. In table 12.1 we see uart0 is irq=5. For some reason, it isn't doing this on the x86 version. In table 12.1 we see uart2 is irq=33. Arm is the industry's leading supplier of microprocessor technology, offering the widest range of microprocessor cores to address the performance, power and cost requirements for almost all application markets. Replace and organize your screwdriver bits with wiha's premium quality bits and bit sets. Wiha bits are precision machined from wiha quality tool steel for an exact fit into fasteners. To enable uart0 interrupts we set bit 5 in nvic_en0_r, see table 12.3. All arm instructions are 32 bits (on most machines). The rust compiler is using some black magic voodoo to optimize the arm version. Circle saw a woodworking supply company in houston texas offers circular saw blades, router bits, shaper cutters, woodworking tools and more. Upgrade to impact ready bits with for 30 times performance over our standard bits for less stripped screws, and fewer broken bits.